国家推介,内江33个项目入选
时间:2023-09-15 17:34:24 来源:四川发布近日
国家发展改革委通过统一的
向民间资本推介项目平台
集中发布了一批重点项目
积极吸引民间资本参与
四川共有410个项目入选
![]()
![]()
![]()
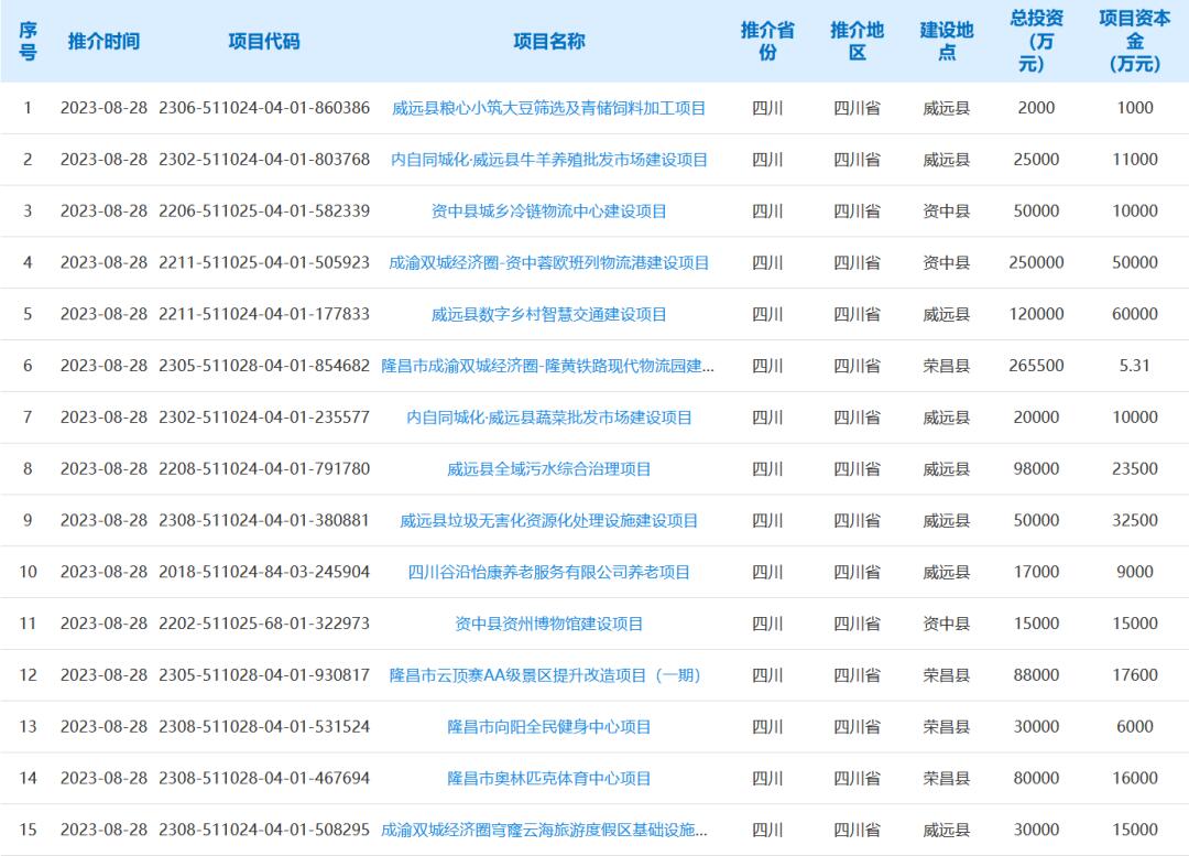
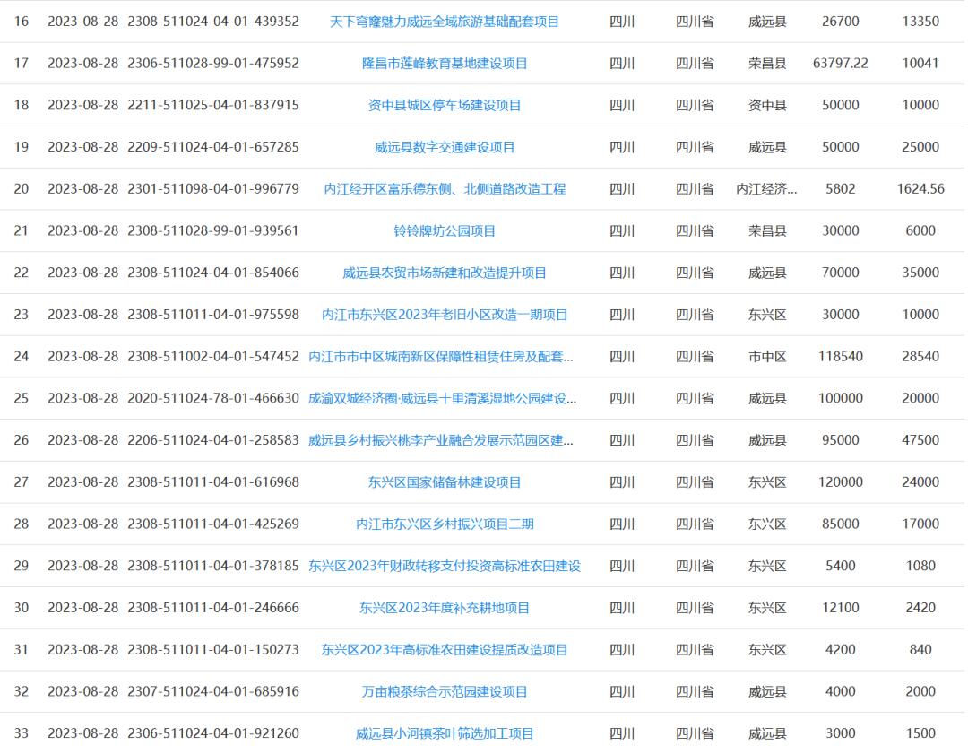
其中,内江33个项目入选!


从四川省总体情况来看,本次全省公开推介项目总投资超6000亿元,涵盖城市基础设施、农林水利、社会事业等不同行业领域,民间资本可以通过控股或参股项目公司等多种方式参与项目建设运营。
从市(州)看,项目在全省21个市(州)均有分布,其中达州、攀枝花、成都、内江、雅安、南充、广元、德阳等市推介项目个数超过30个或总投资超过300亿元。
内江名单如下
(点击图片查看大图)
内江市(33个)


从四川省发展改革委获悉,下一步,四川将持续关注民间资本落地情况,组织各市(州)、省直有关部门(单位)持续向民间资本推介符合条件的项目,切实做好服务保障,全方位调动民营企业投资积极性,推动民间投资高质量发展。
| 编辑: | 唐晓萃 |
| 校对: | 刘桂莲 |
| 责编: | 郭扬 |
| 审核: | 彭川 |
评论
新闻推荐

